数学模型印证民众正确理解疫情严重性 有利抗疫防控
由香港城市大学(香港城大)科学家领导的联合研究团队早前运用数学模型,探讨并分析疾病的传播、市民对疾病的警觉性与后续行动,以及大众传媒和意见领袖传递疾病信息之间的关系,冀为全球应对新型冠状病毒与其他类似的传染病作出贡献。
研究团队由香港城大数据科学学院(SDSC)副教授张清鹏博士领导。研究成果已于科学期刊《Physical Review E》上发表,题为〈Effect of heterogeneous risk perception on information diffusion, behavior change, and disease transmission〉。
促使大众参与抗疫的因素
个人做足抗疫的措施,有助遏止疾病的传播。而大众产生自我保护意识的前题,是要知道有疾病的出现和有正确的认识。然而,在知道出现疫情这个基础上,不同人对疫情严重程度的主观认知会受包括过往经验、大众媒体和意见领袖的言论等因素而影响,因此促成不同的防疫行为。
就此,张博士分享他的观察说:“例如在香港,由于不少大众经历过2003年SARS(Severe Acute Respiratory Syndrome, 非典型肺炎)肆虐的惨痛,于新型冠状病毒侵袭的早期,香港市民已经非常关注疫情,很多人在出現第一個確診個案前,已經自觉戴上口罩保护自己。”他认为正是由于很大部分的市民有防疫意识兼戴上口罩、使用酒精搓手液等,令2020年农历新年时的第一波疫情受控。
“反观欧洲和美国,在新型冠状病毒侵袭初期,不少人都掉以轻心而未有戴上口罩,甚至连政府也未有预备充足的防疫物资。”张博士指出,及后美国的疫情加剧,仍然有不少人没有执行、甚至反对防疫措施。
关键之一︰对疫情严重程度的理解和判断
过往已有不少研究以数学模型分析大众对疾病的意识会如何影响疫症的爆发,但较少研究有考虑到大众在疫情中对媒体相关报道、以及意见领袖言论的不同反应。张博士引述其他研究指出,大众是否愿意作出自我保护的行为(例如戴口罩和保持社交距离),以及与别人分享相关信息,不单会受传媒的疫情报道所影响,同时亦取决于个人对疫情风险和严重程度的理解和主观判断,即到底他们认为疫情有多严重。
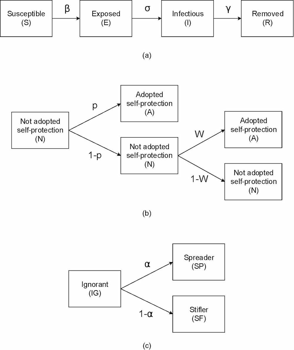
在新型冠状病毒疫情中,研究团队观察到大众对感染风险的看法存在分歧,会促成不同的防疫行为,因而令他们萌生进行是次研究的想法。张博士的团队提出了一个综合疾病传播、人类行为改变、信息传播三个范畴进行分析的数学模型,是首个同时考虑大众对疾病的意识和个人主观风险判断的研究。
他解释“疾病-行为-信息”三者的关系:“大众传播媒体和意见领袖传递疫情的信息,包括疾病传播能力、疫情严重性等,接收到这些信息的人会意识到有疫情,继而判断自己受感染的风险,然后部分人会作出例如购买口罩等防护装备的行动。而市民采取自我保护的措施会改变感染率,最终影响疾病的传播。”
科学公正的媒体信息助大众建立抗疫意识
他们的数学模型推算结果显示,如果有足够数量的市民对疾病的严重性和传播有认知,并采取适当的保护措施,疫情可以被有效控制。张博士指出,不知道疫情信息者通常不会作出自我保护的行为,因为他们不知道有风险;而知道疫情信息、又认为自己有较高风险感染者,往往会积极采取避免受感染的措施,并与他人分享相关信息。
张博士认为,意见领袖的言论及媒体报道疫情的信息会令市民提高警觉,继而影响大众是否采取抗疫措施,因此两者于疫情防控上都扮演重要的角色。不过,张博士进一步指出两者在发放疫情信息时也要拿揑得宜,“刻意淡化疫情的严重性或令市民疏于防范而造成更多感染,但过份渲染疫情的严重性却会令市民对公共卫生系统失去信任”。
另外,他们的数学模型推算结果显示,社交的影响也是个重要因素,人们的行为会受自己周边朋友的行为影响,而社交网络中,意见领袖若采取恰当的防疫行为,可以令更广泛的大众也采取防疫行为,能显著缩小疾病爆发的规模。
张博士是论文的通讯作者。而论文第一作者是同样来自香港城大数据科学学院的叶杨,她是张博士的博士生。研究团队其他成员则来自浙江工业大学与中国科学院自动化研究所。
这项研究获得国家自然科学基金会、国家科技部和中国科学院的资助进行。
DOI number: 10.1103/PhysRevE.102.042314
本文已于 “香港城大研创” 微信公众号发布。
Wechat ID: CityU_Research
